重修报名时间安排:
(一)22级和23级学生报名从即日起至4月3日下午17:00截止。
(二)21级和往届生报名从4月4日起至4月9日下午17:00截止。
特别提醒:逾期不再办理,请按照通知时间报名,未报名学生导致无法重修责任自负。
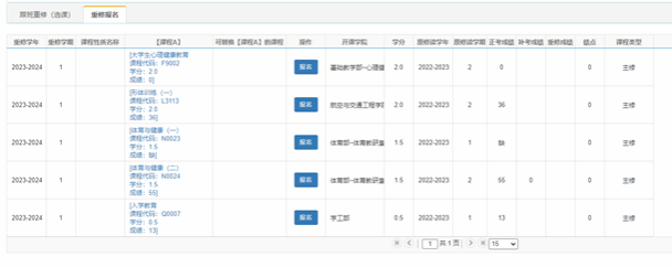
学生重修报名操作流程:
1、直接登录教务管理系统网址:http://210.28.225.14:8081/jwglxt或者http://210.28.225.93:8081/jwglxt
2.、点击:报名申请→重修报名

3、点击:跟班重修(选课)→ 选课 (23级重修上限四门,其他年级不限),选课之后进行下一步。

4、点击:重修报名→报名 如果提示该课程有可选重修教学班,请在第3步骤跟班重修里选择该课程报名。

5、本学期有开课先选跟班重修,没有跟班重修的课程:点击重修报名→报名 出现警告提示有跟班重修的到跟班重修(选课)

6、如果出现下图确认提示点击:确认

7、出现下图提示己选过该课程教学班,说明已经在跟班重修选课里面选过,点击:确定。

特别提醒:本学期有开课先选跟班重修报名,未开课的选重修报名!